
MIL-DTL-15370/9H
.112 -40 UNC 2B
.12 DEEP 2 HOLES
BOTH SIDES
Inches
mm
.112
2.84
.12
3.05
NOTES:
1. Dimensions are in inches.
2. Metric equivalents are given for information only.
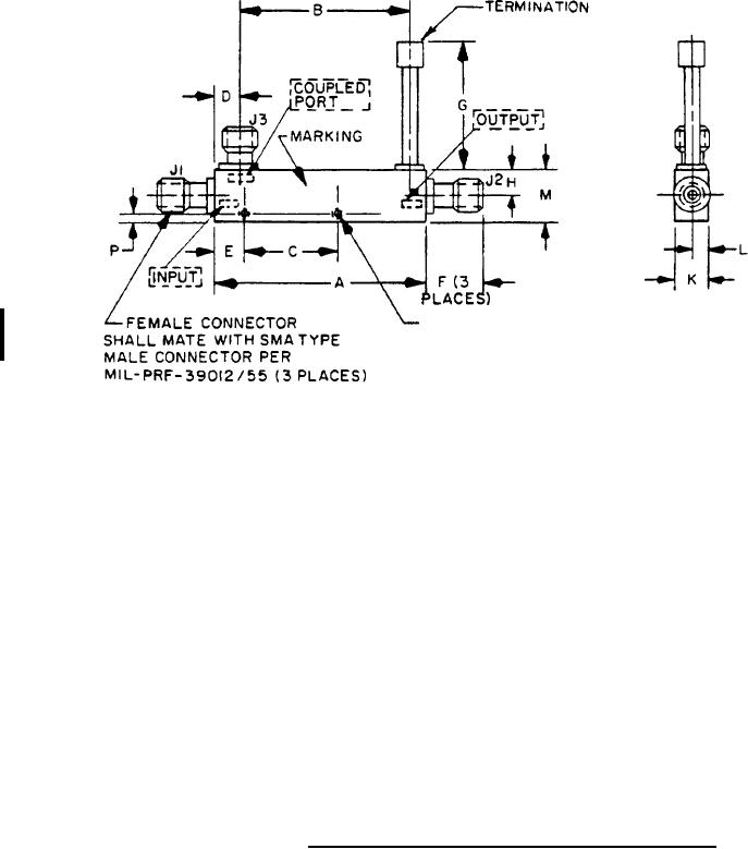
FIGURE 5. Dimensions and configuration for part numbers M15370/9-026.
5
For Parts Inquires submit RFQ to Parts Hangar, Inc.
© Copyright 2015 Integrated Publishing, Inc.
A Service Disabled Veteran Owned Small Business