
MIL-DTL-3928/15G
NOTES:
1. Dimensions are in inches. Metric equivalents may be determined using 1.00 inch = 25.4 mm.
2. Unless otherwise specified, tolerances are ± .010 for three place decimals; ± .030 for two place decimals.
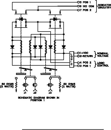
FIGURE 13. Switch configuration and schematic PIN M3828/15/-18- Continued.
27
For Parts Inquires submit RFQ to Parts Hangar, Inc.
© Copyright 2015 Integrated Publishing, Inc.
A Service Disabled Veteran Owned Small Business