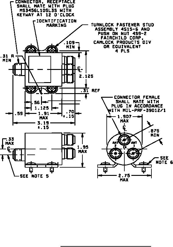
MIL-DTL-25879 Switch, Radio Frequency Transmission Line, Coaxial Type Sa-521A/AThis specification covers the requirements for one type of radio frequency \(RF\) switch, intended specifically for use in switching coaxial lines between multiple communication and navigation antennas.