
INCH-POUND
MIL-DTL-23971/8A
21 April 2003_
SUPERSEDING
MIL-P-23971/8A
22 February 1980
DETAIL SPECIFICATION SHEET
POWER DIVIDERS, QUADRATURE, FLAT PACK
This specification is approved for use by all Depart-
ments and Agencies of the Department of Defense.
The requirements for acquiring the power divider described herein
shall consist of this specification sheet and MIL-DTL-23971.
Inches
mm
.005
0.13
.01
0.3
.017
0.43
.062
1.57
.075
1.90
.10
2.5
.125
3.18
.313
7.95
.375
9.52
.50
12.7
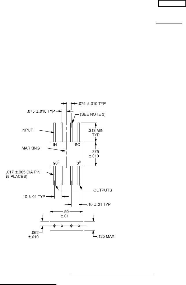
NOTES:
1. Dimensions are in inches.
2. Metric equivalents are given for general information only and are based upon 1.00 inch = 25.4 mm.
3. Pins that are not marked, are grounded to the internal circuit of the power divider, by the manufacturer.
FIGURE 1. Dimensions and configuration, dash number 01.
AMSC N/A
1 of 5
FSC 5985
DISTRIBUTION STATEMENT A. Approved for public release; distribution is unlimited.