
MIL-DTL-15370/6E
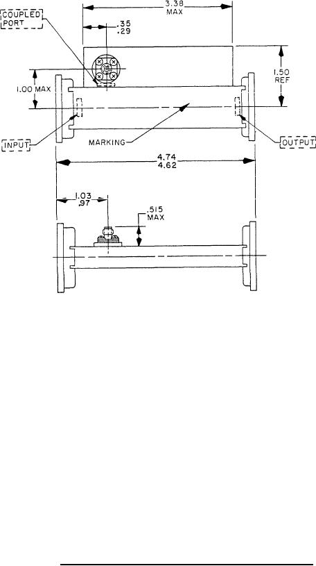
Inches
mm
.29
7.4
.35
8.9
.515
13.08
.97
24.6
1.00
25.4
1.03
26.2
1.50
38.1
3.38
85.9
4.62
117.3
4.74
120.4
NOTES:
1. Dimensions are in inches.
2. Metric equivalents are given for information only.
FIGURE 3. Dimensions and configuration for part number M15370/6-003.
3
For Parts Inquires submit RFQ to Parts Hangar, Inc.
© Copyright 2015 Integrated Publishing, Inc.
A Service Disabled Veteran Owned Small Business