
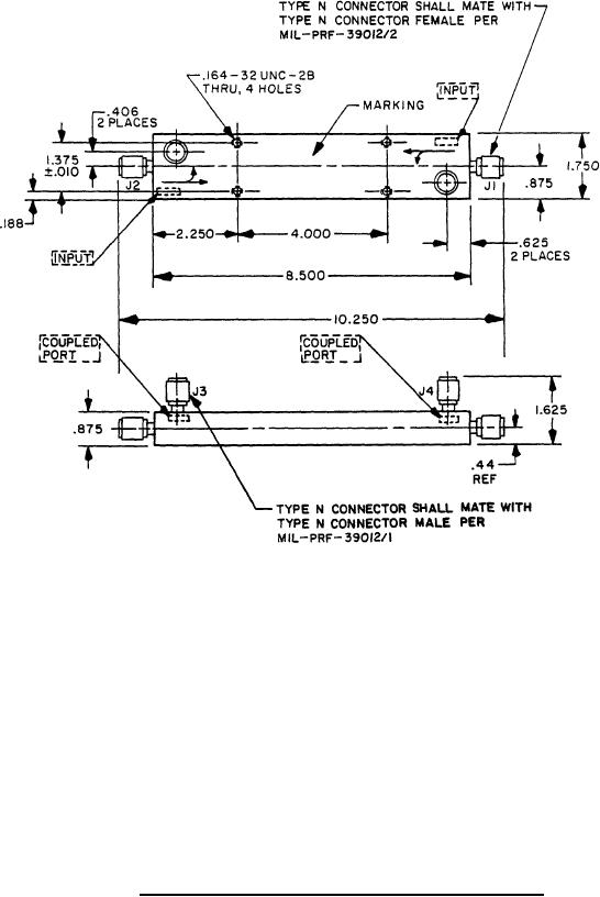
MIL-DTL-15370/11D
Inches
mm
.010
0.25
.164
4.17
.188
4.78
.406
10.31
.44
11.2
.625
15.88
.750
19.05
.875
22.22
1.375
34.92
NOTES:
1.625
41.28
1.750
44.45
1. Dimensions are in inches.
2.250
57.15
2. Metric equivalents are given for information only.
4.000
101.60
3. Unless otherwise specified, tolerance is ±.030 (0.76 mm).
8.500
215.90
10.250
260.35
FIGURE 2. Dimensions and configuration for part number M15370/11-002.
2
For Parts Inquires submit RFQ to Parts Hangar, Inc.
© Copyright 2015 Integrated Publishing, Inc.
A Service Disabled Veteran Owned Small Business