
MIL-DTL-55041/11A
NOTES:
1. Dimensions are in inches.
2. Metric equivalents (in millimeters) are given for general information only.
3. Round corners of case may be squared.
4. Unless otherwise specified, tolerances are ± .010 inch (0.25 mm) for three place decimals and
± .03 inch (0.8 mm) for two place decimals.
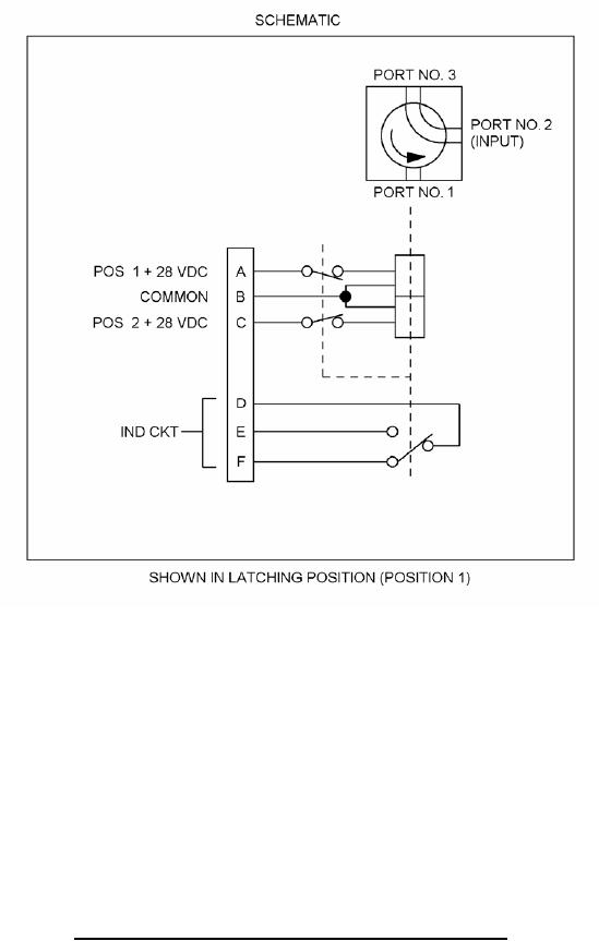
5. DC polarity must be observed.
FIGURE 2. Switch configuration and schematic, part numbers M55041/11-006 - Continued.
4