
INCH-POUND
MIL-DTL-23971/11A
23 April 2002
SUPERSEDING
MIL-P-23971/11
22 February 1980
DETAIL SPECIFICATION SHEET
POWER DIVIDER/COMBINERS, QUADRATURE, TO-5
This specification is approved for use by all Depart-
ments and Agencies of the Department of Defense.
The requirements for acquiring the power divider described herein
shall consist of this specification sheet and MIL-DTL-23971.
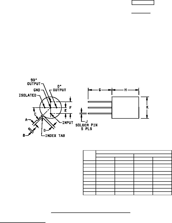
Dimensions
Inches
Millimeters
Max
Min
Max
Min
A
.034
.028
.86
.71
B
N/A
.009
N/A
.23
50°
40°
50°
40°
C
D
.034
.028
.86
.028
E
.11
.09
2.8
2.3
F
.21
.19
5.3
4.8
G
.44
.32
11.2
8.2
H
.50
N/A
12.7
N/A
J
.019 dia
.016 dia
.48 dia
.41 dia
K
.40
N/A
10.2
N/A
NOTES:
1. Dimensions are in inches.
2. Metric equivalents are given for general information only.
FIGURE 1. Dimensions and configuration, dash numbers 01 and 02.
AMSC N/A
1 of 3
FSC 5985
DISTRIBUTION STATEMENT A. Approved for public release; distribution is unlimited.