
MIL-DTL-22641F
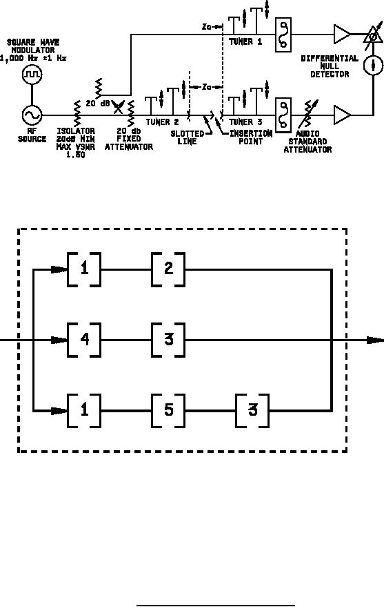
NOTE: Slotted line with low residual reflection, hermaphroditic output fitting compatible with tuner 3 input fitting.
VSWR less than 1.006 + .003F (F in GHz).
NOTES:
1. Standard test adapter with hermaphroditic input fitting compatible with output fitting of slotted line, and output
interface compatible with input interface of adapter to be tested.
2. Standard test adapter of opposite sex to [1] and hermaphroditic output fitting compatible with input fitting of
tuner 3.
3. Standard test adapter with hermaphroditic output fitting compatible with input fitting of tuner 3, and input
interface compatible with output interface of adapter to be tested.
4. Standard test adapter of opposite sex to [3] and hermaphroditic input fitting compatible with output fitting of the
slotted line.
5. Adapter under test.
FIGURE 2. Method of insertion loss measurement.
8
For Parts Inquires submit RFQ to Parts Hangar, Inc.
© Copyright 2015 Integrated Publishing, Inc.
A Service Disabled Veteran Owned Small Business